To the top of the document
Aveo
To Previous PageTo Next Page
GMDE Start PageLoad static TOCLoad dynamic TOCHelp?



7. FATC (FULL AUTOMATIC TEMPERATURE CONTROL CIRCUIT)

1) POWER, GROUND & SENSOR CIRUCIT

S6B15030.png
Display graphicTranslations of text in graphics


a. CONNECTOR INFORMATION

CONNECTOR NO
(PIN NO, COLOR)
CONNECTING WIRING HARNESSCONNECTOR POSITION
C102 (32 Pin, Gray)Front - Engine Fuse BlockEngine Fuse Block
C201 (76 Pin, Black)I.P - I.P Fuse BlockI.P Fuse Block
C203 (18 Pin, White)I.P - I.P Fuse BlockI.P Fuse Block
C204 (18 Pin, Gray)I.P - EngineUpper Driver Leg Room
C206 (10 Pin, White)TCM - I.PBelow TCM
C217 (16 Pin, White)I.P - FATCUnder Blower Motor
G201I.PUpper Mirror Control Switch
G203I.PBelow Ashtray

b. CONNECTOR IDENTIFICATION SYMBOL & PIN NUMBER POSITION

S6B1P030.png
Display graphicTranslations of text in graphics


c. POSITION OF CONNECTORS AND GROUNDS

S6B12001.png
Display graphicTranslations of text in graphics


2) A/C COMPRESSOR CONTROL CIRCUIT : SIRIUS D42

S6B15031.png
Display graphicTranslations of text in graphics


a. CONNECTOR INFORMATION

CONNECTOR NO
(PIN NO, COLOR)
CONNECTING WIRING HARNESSCONNECTOR POSITION
C102 (32 Pin, Gray)Front - Engine Fuse BlockEngine Fuse Block
C103 (32 Pin, Brown)Front - Engine Fuse BlockEngine Fuse Block
C204 (18 Pin, Gray)I.P - EngineUpper Driver Leg Room
C217 (16 Pin, White)I.P - FATCUnder Blower Motor

b. CONNECTOR IDENTIFICATION SYMBOL & PIN NUMBER POSITION

S6B1P031.png
Display graphicTranslations of text in graphics


c. POSITION OF CONNECTORS AND GROUNDS

S6B12002.png
Display graphicTranslations of text in graphics


S6B12001.png
Display graphicTranslations of text in graphics


d. SPLICE PACK

S201

S6B1S002.png
Display graphicTranslations of text in graphics


3) A/C COMPRESSOR CONTROL CIRCUIT : HV-240

S6B15032.png
Display graphicTranslations of text in graphics


a. CONNECTOR INFORMATION

CONNECTOR NO
(PIN NO, COLOR)
CONNECTING WIRING HARNESSCONNECTOR POSITION
C101 (32 Pin, Black)Engine - Engine Fuse BlockEngine Fuse Block
C102 (32 Pin, Gray)Front - Engine Fuse BlockEngine Fuse Block
C103 (32 Pin, Brown)Front - Engine Fuse BlockEngine Fuse Block
C203 (18 Pin, White)I.P - I.P Fuse BlockI.P Fuse Block
C204 (18 Pin, Gray)I.P - EngineUpper Driver Leg Room
C208 (20 Pin, Yellow)Front - I.PFront TCM
C217 (16 Pin, White)I.P - FATCUnder Blower Motor
G101FrontBehind Right Headlamp

b. CONNECTOR IDENTIFICATION SYMBOL & PIN NUMBER POSITION

S6B1P032.png
Display graphicTranslations of text in graphics


c. POSITION OF CONNECTORS AND GROUNDS

S6B12007.png
Display graphicTranslations of text in graphics


S6B12001.png
Display graphicTranslations of text in graphics


4) A/C COMPRESSOR CONTROL CIRCUIT : MR-140

S6B15033.png
Display graphicTranslations of text in graphics


a. CONNECTOR INFORMATION

CONNECTOR NO
(PIN NO, COLOR)
CONNECTING WIRING HARNESSCONNECTOR POSITION
C101 (32 Pin, Black)Engine - Engine Fuse BlockEngine Fuse Block
C102 (32 Pin, Gray)Front - Engine Fuse BlockEngine Fuse Block
C103 (32 Pin, Brown)Front - Engine Fuse BlockEngine Fuse Block
C203 (18 Pin, White)I.P - I.P Fuse BlockI.P Fuse Block
C204 (18 Pin, Gray)I.P - EngineUpper Driver Leg Room
C208 (20 Pin, Yellow)Front - I.PFront TCM
C217 (16 Pin, White)I.P - FATCUnder Blower Motor
G101FrontBehind Right Headlamp

b. CONNECTOR IDENTIFICATION SYMBOL & PIN NUMBER POSITION

S6B1P033.png
Display graphicTranslations of text in graphics


c. POSITION OF CONNECTORS AND GROUNDS

S6B12008.png
Display graphicTranslations of text in graphics


S6B12001.png
Display graphicTranslations of text in graphics


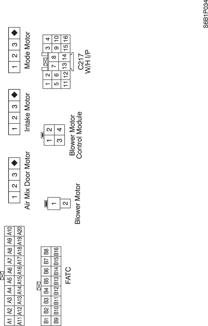
5) BLOWER AND AIR DELIVERY CIRCUIT

S6B15034.png
Display graphicTranslations of text in graphics


a. CONNECTOR INFORMATION

CONNECTOR NO
(PIN NO, COLOR)
CONNECTING WIRING HARNESSCONNECTOR POSITION
C217 (16 Pin, White)I.P - FATCUnder Blower Motor
G203I.PBelow Ashtray

b. CONNECTOR IDENTIFICATION SYMBOL & PIN NUMBER POSITION

S6B1P034.png
Display graphicTranslations of text in graphics


c. POSITION OF CONNECTORS AND GROUNDS

S6B12001.png
Display graphicTranslations of text in graphics


To Previous PageTo Next Page


© Copyright Chevrolet Europe. All rights reserved